Wilo Drain TSW 32/8-A merülő iszapszivattyú 6045167
Szállítási információk
- GLS: 5 400 Ft
- GLS: 0 Ft várható kézbesítés 06.03. - 06.05.
- Packeta: 0 Ft várható kézbesítés 06.03. - 06.05.
- GLS CsomagPont: 0 Ft várható kézbesítés 06.03. - 06.05.
- Magyar Posta: 1 990 Ft várható kézbesítés 06.08. - 06.10.
- GLS: 3 490 Ft
- DHL: 1 250 Ft
- SPS: 1 200 Ft
- Packeta: 1 290 Ft
- DPD: 2 350 Ft
- GLS: 4 990 Ft
- PPL: 2 610 Ft
Gondosan kiválasztott tartozékok
Leírás
Wilo Drain TSW 32/8-A merülő szennyvízszivattyú 6045167
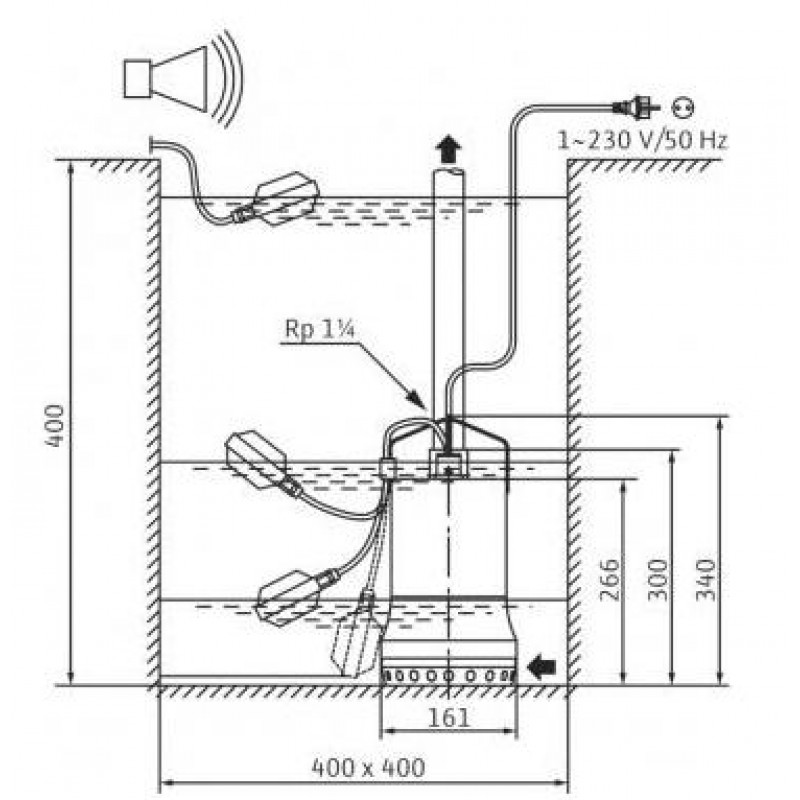
A Wilo Drain TSW 32/8-A egy merülőmotoros szennyvízszivattyú, amely állandó és hordozható, nedvesaknás telepítésre egyaránt alkalmas. A beépített úszókapcsolónak köszönhetően a szivattyú teljesen automatikus üzemben működik. Kifejezetten háztartási alkalmazásokhoz tervezték, fekáliamentes szennyvíz és enyhén szennyezett víz (kis mennyiségű homokkal és kaviccsal) szállítására.
Az integrált „Twister” funkció folyamatos örvénykeltést biztosít a szívási tartományban, amely megakadályozza az üledék lerakódását. Ennek eredményeként a szivattyúakna tiszta marad, és jelentősen csökken a kellemetlen szagok kialakulása.
Előnyök
- Teljesen automatikus működés beépített úszókapcsolóval
- Twister funkció az üledéklerakódás csökkentésére
- Nyitott, többcsatornás járókerék szabad átömléssel
- Rozsdamentes acél szivattyúház és motorház
- Olajjal töltött tömítőkamra kettős tömítéssel
- Beépített termikus motorvédelem
- Alkalmas állandó és mobil használatra
Hidraulikai adatok
| • Maximális üzemi nyomás | 2 bar |
| • Járókerék típusa | Szabad örvénykerék |
| • Szabad átömlés | 10 mm |
| • Maximális merülési mélység | 7 m |
| • Közeg hőmérséklet-tartomány | 3–35 °C |
| • Környezeti hőmérséklet | 3–35 °C |
Motoradatok
| • Hálózati csatlakozás | 1 × 230 V / 50 Hz |
| • Motor névleges teljesítménye P2 | 0,3 kW |
| • Maximális teljesítményfelvétel P1 | 500 W |
| • Névleges áram | 2,2 A |
| • Névleges fordulatszám | 2900 1/min |
| • Szigetelési osztály | B |
| • Védettség | IP68 |
| • Üzemmód (merülve) | S1 |
| • Üzemmód (nem merülve) | S3 – 25% |
Kábel és csatlakozás
| • Kábel hossza | 10 m |
| • Kábel típusa | H07RN-F |
| • Kábel keresztmetszete | 3G1 mm2 |
| • Hálózati dugasz | CEE 7/7 (földelt) |
| • Nyomóoldali csatlakozás | Rp 1 1/4 |
Anyagok
- Szivattyúház: nemesacél
- Motorház: nemesacél
- Járókerék: PLC (kompozit anyag)
- Szivattyúoldali tömítés: BQ1PFF
- Motoroldali tömítés: NBR
Felhasználási területek
- Fekáliamentes szennyvíz szivattyúzása
- Enyhén szennyezett víz kis mennyiségű homokkal és kaviccsal
- Háztartási szennyvízaknák
- Pincék és technikai helyiségek víztelenítése
Szállítási terjedelem
- Wilo Drain TSW 32/8-A szivattyú
- Előszerelt visszafolyásgátló
- Tömlőcsatlakozás
- Beépítési és üzemeltetési útmutató
Törekszünk a webáruházban megtalálható információk, termékleírások pontos és hiteles közlésére, olykor azonban ezek önhibánkon kívül tartalmazhatnak téves információkat. A képek csak tájékoztató jellegűek.
Műszaki adatok
| Részletezés | |
| Szállítási magasság | 8 m |
| Tápfeszültség | 1~230 V, 50 Hz |
| Max. merülési mélység | 7 m |
| Felvett teljesítmény | 500 W |
| Csatlakozó (nyomó) | 1 1/4" |
| Kábel hossza | 10 m |
| Max. folyadékszállítás | 13,5 m3/h |
| Úszókapcsoló | Úszókapcsolóval |
| Max. áteresztőképesség | 10 mm |
Dokumentumok
- Um nach Deutschland zu versenden, besuchen Sie WILO TSW 32/8-A Schmutzwasserpumpe Tauchpumpe , 6045167
- Pre odoslanie na Slovensko navštívte WILO TSW 32/8-A ponorné kalové čerpadlo 6045167
- Aby wysłać do Polski odwiedź WILO TSW 32/8-A Pompa zatapialna 6045167
- Pro odeslání do Česka navštivte WILO TSW 32/8-A ponorné kalové čerpadlo 6045167
- Pour l’expédition en France, visitez WILO TSW 32/8-A Pompe pour eau usées 6045167
- Um nach Österreich zu versenden, besuchen Sie WILO TSW 32/8-A Schmutzwasserpumpe Tauchpumpe , 6045167
Beszélgessünk róla! Értékelések (0)
Értékelés írása
Termék értékelése: Rossz Kitűnő
Másolja be a lenti kódot:





















